基于Springboot的结合人脸识别和实名认证的校园论坛系统设计与实现+文档
当下,在信息技术得以快速发展之际,校园信息化建设在持续地向前推进,而校园论坛,作为一个重要的交流平台,其作用正日益变得凸显起来。不过,传统的校园论坛存在着诸多的问题,像采用用户名和密码的登录方式,这其中安全隐患是很大的,密码容易被破解或者被窃取,进而致使账号被盗用以及信息被泄露;还缺乏有效的实名认证机制,由此使得虚假信息泛滥成灾,对校园网络秩序形成了干扰。与此同时,校园活动的组织管理也陷入了困境之
博主介绍:✌全网粉丝3W+,csdn特邀作者、CSDN新星计划导师、Java领域优质创作者,掘金/华为云/阿里云/InfoQ等平台优质作者、专注于Java技术领域和学生毕业项目实战,高校老师/讲师/同行前辈交流✌
技术范围:SpringBoot、Vue、SSM、HLMT、Jsp、PHP、Nodejs、Python、爬虫、数据可视化、小程序、安卓app、大数据、物联网、机器学习等设计与开发。
主要内容:免费功能设计、开题报告、任务书、中期检查PPT、系统功能实现、代码编写、论文编写和辅导、论文降重、长期答辩答疑辅导、腾讯会议一对一专业讲解辅导答辩、模拟答辩演练、和理解代码逻辑思路。
🍅文末获取源码联系🍅
👇🏻 精彩专栏推荐订阅👇🏻 不然下次找不到哟
感兴趣的可以先收藏起来,还有大家在毕设选题,项目以及论文编写等相关问题都可以给我留言咨询,希望帮助更多的人
目录
基于SSM的中国旅游网站管理系统+数据库+数据库表结构文档+免费远程调试
基于Springboot Vue医院管理系统+数据库脚本+文档(万字)
超市售货|超市售货管理小程序|基于微信小程序的超市售货管理系统设计与实现(源码+数据库+文档)
基于SpringBoot+vue的在线商城系统(含源码 数据库+文档免费送)
springboot+vue宠物爱心组织管理系统附赠万字文档
Springboot+vue的医疗挂号管理系统+数据库+报告+免费远程调试
基于SpringBoot+vue的在线商城系统+论文+免费远程调试
基于SpringBoot宠物医院信息管理系统【安装调试·代码讲解·文档报告】
系统介绍:
当下,在信息技术得以快速发展之际,校园信息化建设在持续地向前推进,而校园论坛,作为一个重要的交流平台,其作用正日益变得凸显起来。不过,传统的校园论坛存在着诸多的问题,像采用用户名和密码的登录方式,这其中安全隐患是很大的,密码容易被破解或者被窃取,进而致使账号被盗用以及信息被泄露;还缺乏有效的实名认证机制,由此使得虚假信息泛滥成灾,对校园网络秩序形成了干扰。与此同时,校园活动的组织管理也陷入了困境之中,人工去处理活动的报名、签到,其效率是低下的,容易出现错误,并且存在着冒名顶替的现象。
就解决这些问题而言,本研究精心设计且切实实现了一个校园论坛系统,此系统将人脸识别与实名认证予以结合。该系统以 Java Springboot 框架作为核心之所在,立足于 B/S 架构,凭借 MySQL 数据库来进行数据存储,并通过 IDEA 开发平台得以完成开发。借由对接人脸识别接口,从而实现实名认证登录,这极大地提高了系统的安全性,切实有效地防止了账号盗用以及虚假注册的情况。系统另外还拥有自动化活动管理的功能,其中涵盖了活动信息展示、报名、签到、评价等一系列环节,进而提高了活动组织的效率,也相应减轻了管理人员的负担。经由系统测试的验证,其功能保持稳定,运行颇为流畅,能够满足校园内师生进行交流以及活动管理的需求,为校园信息化建设给予了强有力的支持。
详细视频演示
请联系我获取更详细的演示视频
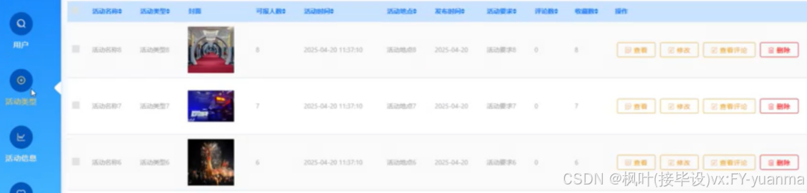
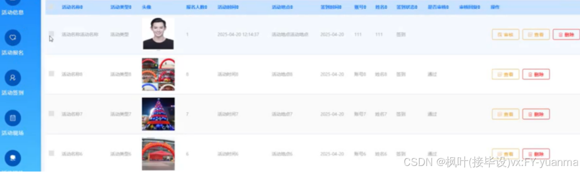
功能截图:












代码实现:
/**
* 登录相关
*/
@RequestMapping("users")
@RestController
public class UserController{
@Autowired
private UserService userService;
@Autowired
private TokenService tokenService;
/**
* 登录
*/
@IgnoreAuth
@PostMapping(value = "/login")
public R login(String username, String password, String role, HttpServletRequest request) {
UserEntity user = userService.selectOne(new EntityWrapper<UserEntity>().eq("username", username));
if(user != null){
if(!user.getRole().equals(role)){
return R.error("权限不正常");
}
if(user==null || !user.getPassword().equals(password)) {
return R.error("账号或密码不正确");
}
String token = tokenService.generateToken(user.getId(),username, "users", user.getRole());
return R.ok().put("token", token);
}else{
return R.error("账号或密码或权限不对");
}
}
/**
* 注册
*/
@IgnoreAuth
@PostMapping(value = "/register")
public R register(@RequestBody UserEntity user){
// ValidatorUtils.validateEntity(user);
if(userService.selectOne(new EntityWrapper<UserEntity>().eq("username", user.getUsername())) !=null) {
return R.error("用户已存在");
}
userService.insert(user);
return R.ok();
}
/**
* 退出
*/
@GetMapping(value = "logout")
public R logout(HttpServletRequest request) {
request.getSession().invalidate();
return R.ok("退出成功");
}
/**
* 密码重置
*/
@IgnoreAuth
@RequestMapping(value = "/resetPass")
public R resetPass(String username, HttpServletRequest request){
UserEntity user = userService.selectOne(new EntityWrapper<UserEntity>().eq("username", username));
if(user==null) {
return R.error("账号不存在");
}
user.setPassword("123456");
userService.update(user,null);
return R.ok("密码已重置为:123456");
}
/**
* 列表
*/
@RequestMapping("/page")
public R page(@RequestParam Map<String, Object> params,UserEntity user){
EntityWrapper<UserEntity> ew = new EntityWrapper<UserEntity>();
PageUtils page = userService.queryPage(params, MPUtil.sort(MPUtil.between(MPUtil.allLike(ew, user), params), params));
return R.ok().put("data", page);
}
/**
* 信息
*/
@RequestMapping("/info/{id}")
public R info(@PathVariable("id") String id){
UserEntity user = userService.selectById(id);
return R.ok().put("data", user);
}
/**
* 获取用户的session用户信息
*/
@RequestMapping("/session")
public R getCurrUser(HttpServletRequest request){
Integer id = (Integer)request.getSession().getAttribute("userId");
UserEntity user = userService.selectById(id);
return R.ok().put("data", user);
}
/**
* 保存
*/
@PostMapping("/save")
public R save(@RequestBody UserEntity user){
// ValidatorUtils.validateEntity(user);
if(userService.selectOne(new EntityWrapper<UserEntity>().eq("username", user.getUsername())) !=null) {
return R.error("用户已存在");
}
userService.insert(user);
return R.ok();
}
/**
* 修改
*/
@RequestMapping("/update")
public R update(@RequestBody UserEntity user){
// ValidatorUtils.validateEntity(user);
userService.updateById(user);//全部更新
return R.ok();
}
/**
* 删除
*/
@RequestMapping("/delete")
public R delete(@RequestBody Integer[] ids){
userService.deleteBatchIds(Arrays.asList(ids));
return R.ok();
}
}

论文参考:
1 绪 论
1.1研究背景与意义
1.2系统研究现状
1.3 论文主要工作内容
2 系统关键技术
2.1 java简介
2.2 MySQL数据库
2.3 B/S结构
2.4 SpringBoot框架
2.5 VUE框架
3 系统分析
3.1 系统可行性分析
3.1.1 技术可行性
3.1.2 操作可行性
3.1.3 经济可行性
3.1.4 法律可行性
3.2 系统性能分析
3.3 系统功能分析
3.4 系统流程分析
3.4.1 数据开发流程
3.4.2 用户登录流程
3.4.3 系统操作流程
3.4.4 添加信息流程
3.4.5 修改信息流程
3.4.6 删除信息流程
4 系统设计
4.1 系统概要
4.2 系统结构设计
4.3数据库设计
4.3.1 数据库设计原则
4.3.3 数据库表设计
4.4 系统时序图
4.4.1 注册时序图
4.4.2 登录时序图
4.4.3 管理员修改用户信息时序图
4.4.4 管理员管理系统信息时序图
5 系统的实现
5.1前台功能实现
5.1.1系统首页页面
5.1.2个人中心
5.2后台管理员功能实现
6 系统测试
6.1 测试环境
6.2 测试目的
6.3 测试概述
6.4 单元测试
6.4.1 注册测试
6.4.2 登录测试
6.5 集成测试
结 论
参考文献
致 谢
推荐项目:
基于SSM的中国旅游网站管理系统+数据库+数据库表结构文档+免费远程调试
基于Springboot Vue医院管理系统+数据库脚本+文档(万字)
超市售货|超市售货管理小程序|基于微信小程序的超市售货管理系统设计与实现(源码+数据库+文档)
基于SpringBoot+vue的在线商城系统(含源码 数据库+文档免费送)
基于springboot+vue酒店客房管理系统+文档
微信小程序的二手物品交易平台+文档
springboot学科竞赛管理+文档
网上花店微信小程序+文档
springboot+vue宠物爱心组织管理系统附赠万字文档
Springboot+vue的医疗挂号管理系统+数据库+报告+免费远程调试
springboot 学生成绩管理系统+文档
基于SpringBoot+vue的在线商城系统+论文+免费远程调试
基于SpringBoot宠物医院信息管理系统【安装调试·代码讲解·文档报告】
为什么选择我
博主本身从事开发软件开发、有丰富的编程能力和水平、累积给上千名同学进行辅导、Java领域优质创作者,掘金/华为云/阿里云/InfoQ等平台优质作者、专注于Java技术领域和学生毕业项目实战,高校老师/讲师/同行前辈交流和合作。
源码获取:
大家点赞、收藏、关注、评论啦 、查看👇🏻获取联系方式👇🏻
精彩专栏推荐订阅:在下方专栏👇🏻
更多推荐


所有评论(0)